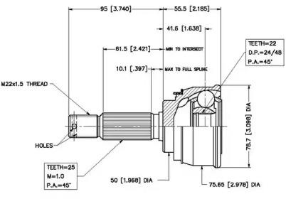
Шрус 18433 Vema

Sold
Proposals for Шрус 18433 Vema and its substitutes
| Info | Description | Optimal Price, UAH | Price Interval, UAH | ||
|---|---|---|---|---|---|
Vema
18433
| Шрус | - | - | Compare Prices >> | |
Pascal
G15001PC
| Шрус | 729,19 | - | Compare Prices >> | |
GSP
809002
| Шрус | 1 018,01 | - | Compare Prices >> | |
Cifam
607-161
| Шрус | 1 630,43 | - | Compare Prices >> |
Characteristics
- Brand:
- Country of manufacture:Italy
- :со стороны колеса
Characteristics and equipment may be changed by the manufacturer.
Product color may vary due to monitor settings.
Product color may vary due to monitor settings.
Select a make model to learn about applicability